| Quantidade: | |
|---|---|
RANHURADOR DE TUBOS 8'-24' (TWG-IVA)
TWG-IVA é uma poderosa ranhuradora de tubos para produção fácil e simples de ranhuras laminadas em tubos de aço de 8'-24' (Φ219mm-Φ630mm).A máquina vem com um conjunto completo de acessórios necessários, fáceis de usar após uma configuração rápida e simples.
CARACTERÍSTICAS DO PRODUTO
● O Conjunto Jockey Polly aprimorado mantém o tubo na máquina durante todo o processo de ranhuramento.
● Caixa de ferramentas incluída projetada para armazenamento dos rolos de pressão sobressalentes e rodas serrilhadas.
● Equipado com 4 pés facilmente destacáveis para montagem rápida e fácil transporte.
● O suporte de tubo hidráulico disponível é um complemento perfeito para a máquina pesada.
ESPECIFICAÇÃO DO PRODUTO
● Nº do modelo: TWG-IVA
● Capacidade padrão:
Capaz de ranhurar tubos de aço carbono 8'-24' (Φ219mm-Φ630mm) Schedule 20, Schedule 40 com espessura máxima de parede de 12,7 mm.
● Dimensão da embalagem: 1070 mm x 750 mm x 1470 mm
● Peso: 284KG LÍQUIDO/340KG BRUTO
● Parâmetro técnico
Pressão máxima de trabalho | 10000kg |
Pressão Máxima do Cilindro de Óleo | 35MPa |
Capacidade do tanque de óleo | 200ml |
Velocidade de operação | 15RPM |
Requerimentos poderosos | Trifásico, ser fornecido em várias tensões e frequências |
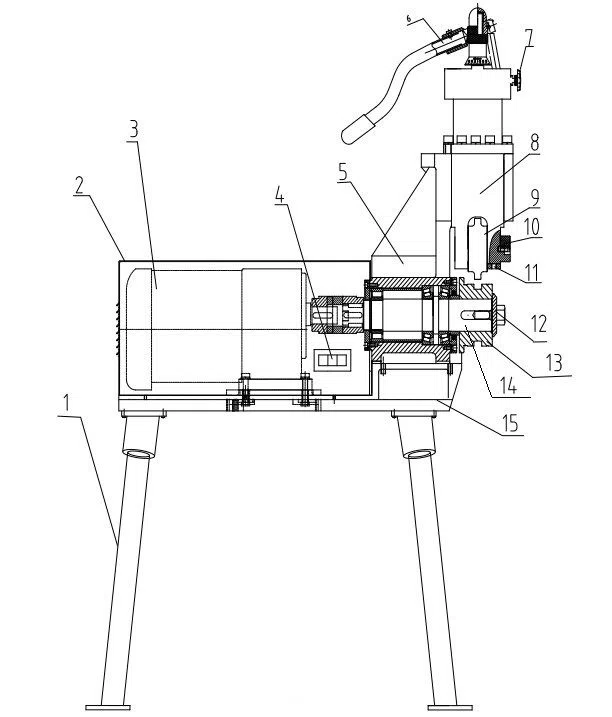
ESTRUTURA DO PRODUTO
Não. | Descrição | Quantidade |
1 | pé de apoio | Um 1) |
2 | Carcaça do Motor Elétrico | Um 1) |
3 | Motor Redutor | Um 1) |
4 | Interruptor ON/OFF | Um 1) |
5 | chefe de unidade | Um 1) |
6 | Lidar | Um 1) |
7 | Válvula de escape | Um 1) |
8 | Rolo de pressão Φ219-Φ325 | Um 1) |
Rolo de pressão Φ377- Φ 426 | Um 1) | |
Rolo de pressão Φ480- Φ 630 | Um 1) | |
9 | Eixo do rolo de pressão | Um 1) |
10 | Parafuso de Fixação M10 | Um 1) |
11 | Parafuso de Fixação do Eixo | Um 1) |
12 | Roda serrilhada Φ219-Φ530 | Um 1) |
Roda serrilhada Φ630 | Um 1) | |
13 | Cabo principal | Um 1) |
AVISOS GERAIS
● Os operadores devem observar as regras internas de segurança.
● A máquina deve ser operada por uma pessoa dedicada, bem treinada, familiarizada com o Manual do Usuário e totalmente ciente das funções de cada peça.
● Antes de iniciar a máquina, certifique-se de que todas as alças, botões e instalações de proteção estejam em seus locais pretendidos e que todos os humanos estejam suficientemente afastados da máquina.
● Quando a máquina estiver funcionando, não toque nas partes móveis.Não tente remover detritos ou solucionar problemas até que a máquina pare.
● Reabasteça o óleo e faça a lubrificação conforme instruções do Manual do Usuário.
APLICAÇÃO DO PRODUTO
A ranhura por laminação é amplamente utilizada em instalações especializadas, como sistemas de aspersão, aquecimento comercial, indústria e mineração, etc.
Uma pequena ranhura é feita no final de cada tubo com uma máquina de ranhurar.Dois tubos ranhurados são conectados por um acoplamento de duas partes que é aparafusado com dois parafusos e porcas.
Essa conexão flexível permite um pequeno desalinhamento dos tubos e fácil instalação e remoção de uma seção de tubulação no meio de um trecho.
Perguntas frequentes
P: Como posso solicitar uma Lista de Produtos?
R: Para solicitar um catálogo completo, deixe sua mensagem abaixo, retornaremos em breve.
P: você testa todos os seus produtos antes da entrega?
R: sim, temos 100% de teste antes da entrega.
RANHURADOR DE TUBOS 8'-24' (TWG-IVA)
TWG-IVA é uma poderosa ranhuradora de tubos para produção fácil e simples de ranhuras laminadas em tubos de aço de 8'-24' (Φ219mm-Φ630mm).A máquina vem com um conjunto completo de acessórios necessários, fáceis de usar após uma configuração rápida e simples.
CARACTERÍSTICAS DO PRODUTO
● O Conjunto Jockey Polly aprimorado mantém o tubo na máquina durante todo o processo de ranhuramento.
● Caixa de ferramentas incluída projetada para armazenamento dos rolos de pressão sobressalentes e rodas serrilhadas.
● Equipado com 4 pés facilmente destacáveis para montagem rápida e fácil transporte.
● O suporte de tubo hidráulico disponível é um complemento perfeito para a máquina pesada.
ESPECIFICAÇÃO DO PRODUTO
● Nº do modelo: TWG-IVA
● Capacidade padrão:
Capaz de ranhurar tubos de aço carbono 8'-24' (Φ219mm-Φ630mm) Schedule 20, Schedule 40 com espessura máxima de parede de 12,7 mm.
● Dimensão da embalagem: 1070 mm x 750 mm x 1470 mm
● Peso: 284KG LÍQUIDO/340KG BRUTO
● Parâmetro técnico
Pressão máxima de trabalho | 10000kg |
Pressão Máxima do Cilindro de Óleo | 35MPa |
Capacidade do tanque de óleo | 200ml |
Velocidade de operação | 15RPM |
Requerimentos poderosos | Trifásico, ser fornecido em várias tensões e frequências |
ESTRUTURA DO PRODUTO
Não. | Descrição | Quantidade |
1 | pé de apoio | Um 1) |
2 | Carcaça do Motor Elétrico | Um 1) |
3 | Motor Redutor | Um 1) |
4 | Interruptor ON/OFF | Um 1) |
5 | chefe de unidade | Um 1) |
6 | Lidar | Um 1) |
7 | Válvula de escape | Um 1) |
8 | Rolo de pressão Φ219-Φ325 | Um 1) |
Rolo de pressão Φ377- Φ 426 | Um 1) | |
Rolo de pressão Φ480- Φ 630 | Um 1) | |
9 | Eixo do rolo de pressão | Um 1) |
10 | Parafuso de Fixação M10 | Um 1) |
11 | Parafuso de Fixação do Eixo | Um 1) |
12 | Roda serrilhada Φ219-Φ530 | Um 1) |
Roda serrilhada Φ630 | Um 1) | |
13 | Cabo principal | Um 1) |
AVISOS GERAIS
● Os operadores devem observar as regras internas de segurança.
● A máquina deve ser operada por uma pessoa dedicada, bem treinada, familiarizada com o Manual do Usuário e totalmente ciente das funções de cada peça.
● Antes de iniciar a máquina, certifique-se de que todas as alças, botões e instalações de proteção estejam em seus locais pretendidos e que todos os humanos estejam suficientemente afastados da máquina.
● Quando a máquina estiver funcionando, não toque nas partes móveis.Não tente remover detritos ou solucionar problemas até que a máquina pare.
● Reabasteça o óleo e faça a lubrificação conforme instruções do Manual do Usuário.
APLICAÇÃO DO PRODUTO
A ranhura por laminação é amplamente utilizada em instalações especializadas, como sistemas de aspersão, aquecimento comercial, indústria e mineração, etc.
Uma pequena ranhura é feita no final de cada tubo com uma máquina de ranhurar.Dois tubos ranhurados são conectados por um acoplamento de duas partes que é aparafusado com dois parafusos e porcas.
Essa conexão flexível permite um pequeno desalinhamento dos tubos e fácil instalação e remoção de uma seção de tubulação no meio de um trecho.
Perguntas frequentes
P: Como posso solicitar uma Lista de Produtos?
R: Para solicitar um catálogo completo, deixe sua mensagem abaixo, retornaremos em breve.
P: você testa todos os seus produtos antes da entrega?
R: sim, temos 100% de teste antes da entrega.